10個月打造金牌班組系列 5.2
日期:2022-05-26 / 人氣: / 來源:www.z588.cn / 熱門標簽:
歡迎您訪問博革咨詢官網!博革咨詢是中國首家整合精益生產/六西格瑪/流程再造的咨詢公司,專注于提供 精益生產、6S現場管理、TPM設備管理、精益工廠布局、專業目視化、精益供應鏈、精益研發、六西格瑪管理等綜合性問題解決方案并負責落地實施。
全國咨詢熱線:021-62373515、157-2153-3189
我們承諾:見效快、易復制,目標必對賭!
5.2 現場工位布置
5.2.1 工位布置的重要性
每一個工位都是整體生產的基礎。工位是整體生產流中的最小單位,同時也是企業生產的基礎。工位不僅是組成整條生產工藝的重要補充,而且也是支撐整體生產流動的重要環節。只有產品能在每工位上正常流動,オ可以使整體生產流程順暢。
工位的效率影響著整體生產的效率。工位作為整體生產流程的重要環節,其效率的高低都決定著整體生產流程的工作效率。
工位是節約成本的關鍵。通過對工位進行合理布置,可以消除一切可能的浪費。通過對每個工位進行合理設計,避免其在動作經濟、產品生產方面的浪費,實現工作的節約。
5.2.2 工位空間衡量
工位空間是指為了完成一定的工序,一次裝夾工件后,工件(或裝配單元)與夾具或設備的可動部分一起相對刀具或設備的固定部分所占據的每一個位置。這里所說的工位空間是指在工位設計完成以后,工位布置所占據的空間。工位圖:

圖5-X 工位布置圖
要準確地衡量一個工位所占空間大小,首先要測量機器的長度和寬度,確定工位的數量以及計算總面積。某工位布置的基礎數據:
表5-X 工位數據表

有了原始總面積,乘以150%就得到了一個初步的工位所需空間大小,額外的50%的空間包括通道、車架移動距離以及小區域的在制品存放區等。如果設計一個比較寬敞、舒適的工作空間,可以在原始面積的基礎上乘以200%獲得。
5.2.3 工位設計標準
工位設計包含工位器具設計、物料的輸入和輸出設計、人員作業姿勢設計等內容。以沖孔機的工位設計為例,沖孔機工位設計圖:

圖5-3 沖孔機工位設計圖
1)工位器具的設計
①工位器具是指在工地或倉庫中用以存放生產對象或工具的各種裝置。在設計過程中要注意以下原則。
②工位器具的形狀及大小要能夠保證工具或者夾具不會因相互碰撞而變形。
③工位器具要便于物品的存取,占地面積要盡量小。為了節省空間,盡量設計成多層。
④工具的擺放清晰明了,一眼就能找到需要的工具。
⑤器具應該具有通用性,以減少器具的種類,方便管理。
2)物料的輸入和輸出設計
人因工程學建議盡量運用重力原則進行物料的輸入和輸出,因為這種輸入輸出最為節省人力。對于一般的作業,可以在上一道工序和下一道工序之間用滾子鏈或者滑輪傳送帶進行連接,在接收時,物料依靠重力直接滑到機床的安裝區域,在工件加工完之后,從工作臺上卸下,直接依靠重力滑落到下一個工位。
利用重力原則輸入輸出法雖然較為節省人力,但對于不能接受撞擊或易造成人員傷害的零部件加工工位的輸入輸出設計,應在考慮零部件的可靠性、完整性與安全性的同時,兼顧人力的節省和效率。
3)作業姿勢設計
作業臺面的設計主要以人因工程學實驗得出的關于人體尺寸的相關數據作為依據。作業臺面的設計主要包括以下幾個方面的設計內容:坐姿工作臺的設計、立姿工作臺的設計、坐立姿交替的作業臺面的設計等。
①坐姿工作臺設計。
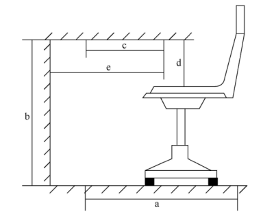
坐姿工作臺的設計主要從工作臺的高度、寬度、容膝空間和作業范圍來考量的。
a.工作臺的高度。工作臺和座位高度及人的身高之間的關系:


在進行實際的工作臺設計時,可以在參考上述標準的前提下,進行適當調整。
b.工作面的寬度。工作面的寬度根據作業功能的要求進行設計。如果僅僅需要肘的倚靠,最小寬度為100mm,最佳寬度為200mm;兼具寫字臺使用的工作面最小寬度為305mm,最佳寬度為405mm;當作辦公桌使用的工作面,最佳寬度為910mm。桌子的厚度一般不超過50mm。
c.容膝空間。工作臺下的空間應該使工作人員不論如何放置腿和腳都感覺最為舒適。在進行設計時,具體尺寸要求所設計的參數:


d.作業范圍。坐姿作業的水平工作區域:

②立姿作業工作臺的設計。
立姿作業工作臺面的高度不僅與人體的身高有關,而且還與工作的性質有關。為了滿足大多數工作人員的需求,可以設計為可調式工作臺,也可以通過增加腳墊來調整作業者與工作臺面之間的距離。立姿作業工作臺高度范圍:

③坐立姿交替作業工作臺設計。坐立姿交替作業工作臺的臺面高度與立姿作業的工作臺的高度要求是一樣的。座椅的設計要根據要求設計成可調座椅,可以方便進行前后移動。
5.2.4作業臺設計
工作臺面是員工從事生產的地方。工作臺面布置得不科學,會導致臺面混亂,員工無法順利、高效地使用物料或工具,直接影響到員工工作的效率。因此,科學布置作業臺面是非常必要的。
工作臺面的布置主要有兩種類型可供選擇,一是平面布置,二是立體布置。
1)平面布置
平面布置通常采用將臺面分區的方式,依據物料、工具的使用頻率與順序,劃定物料、工具、零件等的擺放區域,使物品整齊擺放。常見的作業臺平面布置方法有以材料為中心和以作業動作為中心兩種:

確定了臺面各類物品的擺放區域之后,還應當用區域線進行劃分,防止物品堆放雜亂。質量檢驗作業臺的區域劃分示意圖:

圖5-X 工位平面布置方法
通過分區實現作業臺的平面布置,可以規范作業臺面物品的擺放,防止作業臺凌亂等現象,改善作業員的作業場所,營造令人舒適的工作環境。
2)立體布置
立體布置首先要注意作業臺的選用,需要使用較多工具的工序可以選用帶有工具抽屜和工具架的作業臺;需要同時使用不同規格、型號的材料或零件的工序可以選用帶有多層零件盒或物料盒的作業臺。

圖5-X 工位立體布置方法
作業臺的立體布置要注意充分利用臺面的立體空間,除了將工具、物料、零件等放在立體架上以外,還可以將作業指導書等垂直臺面擺放,避免占據作業空間。

圖5-X 回轉切邊機工位布置
需要注意的是,當作業臺上擺放了不同規格與型號的材料、工具、零件時,需要在工具架或物料架上標明所存放的物品的名稱、型號等信息,避免作業人員錯拿誤用。
科學地布置作業臺面的布置,可以充分利用作業空間,減少作業人員動作量,從而大大地簡化工作。
作者:小編










